安全現已變為物聯網時代的重要任務,尤其是在硬件方面。Maxim期望根據其加密處理器為物聯網應用提供安全性和低功耗。
Maxim是位于世界領先地位的半導體制造供貨商,模擬和混合信息處理方案商品是Maxim的重點業務之一,并且Maxim也一直專注于創新產品,以此為顧客提供更為廣泛的商品選擇和更高質量的產品服務,近期Maxim推出了一款新產品---ChipDNA PUF技術的物聯網安全芯片。

MaximIntegrated一直在認真完成這一目標。該企業前不久推出了一款新的低功耗加密控制器,運用物理不可復制函數(PUF)技術來提升硬件安全性。
由于世界更加變得數字化,網絡安全的隱患和恐懼也在提升。僅有軟件架構設計的安全現已不能符合安全性的需求,反而是更加需要在設計硬件時,乃至硅的方面,就開始考量安全性。
Maxim的ChipDNAPUF
MaximIntegrated在PUF技術上進行了不少資金投入,其旗下知名商品是ChipDNAPUF。
ChipDNA的工作原理是運用CMOS設計中自然產生的任意變動和模擬特點的錯配。如圖所示展示了PUF構架的簡易框圖,示例密鑰尺寸為128比特。

圖中展示了1個由256個模擬PUF元器件構成的16x16陣列,這些組成了一百二十八對。因為工藝上的變動,每個元器件都是會體現出隨機的I/V特性,隨后Maxim借助對每對元器件的電路級對比來生成二進制值。整個流程對所有一百二十八對重復開展,全部形成1個獨特的一百二十八位密鑰輸出。
最重要的是,作為1個硬件級的安全特征,ChipDNAPUF能夠對全部已知的入侵性進攻(即探測)徹底免疫,因而能夠變成帶來硬件級安全的方式。
Maxim和 PUF的ChipDNAPUF技術目前已經了解了其通常概念,讓大家最終深層次認識一下全新的版本。
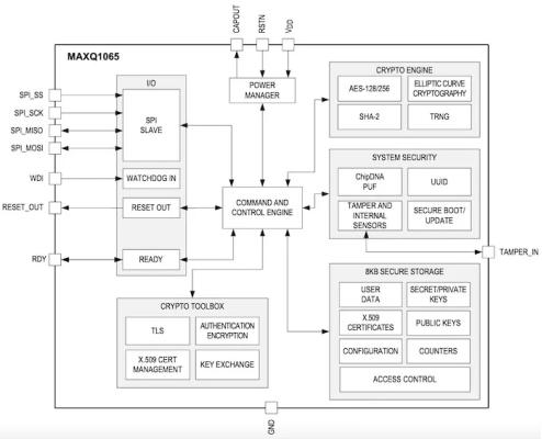
MAXQ1065=功耗低和安全性
MAXQ1065是一款用以物聯網的超功耗低加密控制器。
物聯網應用中,功耗低是其最重要的層面其一。MAXQ1065達到了這一點,其待機時的功能損耗<100nA,Maxim稱,與同種產品對比,其功能損耗可同行業30倍。
該元器件目的在于帶來若干安全措施,包含信任根、相互認證、數據保密性和完整性及其安全啟動等。

MAXQ1065的功能框架圖。
在這個基礎上,MAXQ1065使用ChipDNAPUF技術來避免設備級安全進攻。
其他硬件安全措施包含:
1.真正的隨機數發生器(TRNG)
2.8kB的消費者數據安全存儲器
3.TLS/DTLS1.2握手和記錄層
關于PUF,它是硬件安全領域最重要的技術其一。

PUFs檢測設備時能夠應用challenge-response進行
PUF是1種硬件安全技術,運用原有的元器件特點變動,對給定的輸入造成不可復制的、特有的設備響應。PUF的響應是唯一的、任意的和可重復的,它能夠協助加密密鑰的產生和"儲存",使其在硬件或軟件方面上難以被破譯。
PUF的一個關鍵好處是,它是1種非易失性技術,但它也沒在物理上"儲存"鑰匙。
反過來,PUF在需要時以考驗--回復的形式構建密鑰,過后密鑰基本上瞬間被清除。"始終有一把鑰匙,但你終究不能見到它。" MaximIntegrated是如此說的。"應用PUF能夠在硬件方面上完成強勁和高度安全的加密密鑰儲存,這就是Maxim將其列入安全平臺ChipDNAPUF的緣故。
將來,Maxim期待見到MAXQ1065在物聯網設備中的運用,如supervisory control和數據采集(SCADA)、醫療設備、建筑和 Home Automation、Smart City和智能計量。伴隨著世界越來越更加緊密相連,再次尋找功耗低與高安全的處理器將是非常重要的。
鄂公網安備 42011502001385號 鄂ICP備2021012849號